有问题吗?
雷竞技newbee官网赞助商技术顾问为您服务!
电话:0512-57908019
邮箱:ksdsv_ye@126.com
技术支持:13338056190

1.活塞式气动马达
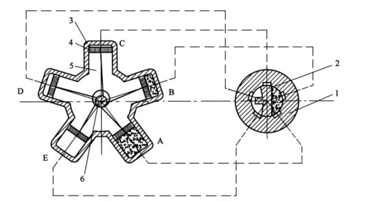
如图所示为五缸径向活塞式气动马达结构原理图,五个气缸均匀分布在气动马达壳体的圆周上,压缩空气进入配气阀后顺序推动各活塞,从而带动曲轴连续旋转。

五缸径向活塞式气动马达结构原理图
2. 活塞式气马达故障及排除方法
活塞式气马达一般转速在250一1500r/min,功率在0.1—50kW。结构复杂、维修要求一般,但检修必须重视质量。常见的故障及排除方法见下表。
活塞式气马达故障及排除方法

3. 活塞式气马达维护保养
气马达空载运转试验时,其空气压力和流量要适当控制,避免高速运转时润滑不良而损坏机件。
1)管理系统应安装油雾器,雾状油随压缩空气送入气马达,润滑油选用N32或N46。
2)气管与气马达联结时,应该用气体吹净气管内的水分和污物等。
3)在使用中若出现故障,如声音异常等不正常现象,应立即停止使用进行检查。
4)气马达按其使用情况,定期维修,以延长某些机件的使用寿命。
5)在拆卸和装配时,切勿用铁锤敲打零件的表面。装配时,零件应清洗干净,装配完毕,曲柄应转动灵活,不得有卡死、单边等现象。

截图发销售,享马达九五折优惠

抖音二维码